Разделы презентаций


Лекция 1 Введение, основные термины и понятия. Элементы режима резания и

Содержание

При обработке металлов резанием изделие получается в результате срезания с заготовки слоя припуска, который удаляется в виде стружки. Готовая деталь ограничивается вновь образованными обработанными поверхностями. На обрабатываемой

Слайды и текст этой презентации

Слайд 1Лекция 1 Введение, основные термины и понятия. Элементы режима резания и

параметры сечения среза

Лекция 1 Введение, основные термины и понятия. Элементы режима резания и параметры сечения среза

Слайд 2 При обработке металлов резанием изделие получается

в результате срезания с заготовки слоя припуска, который удаляется в

виде стружки. Готовая деталь ограничивается вновь образованными обработанными поверхностями. На обрабатываемой заготовке в процессе резания различают обрабатываемую и обработанную поверхности. Кроме того, непосредственно в процессе резания режущей кромкой инструмента образуется и временно существует поверхность резания.

Для осуществления процесса резания необходимо и достаточно иметь одно взаимное перемещение детали и инструмента. Однако для обработки поверхности одного взаимного перемещения, как правило, недостаточно. В этом случае бывает необходимо иметь два или более, взаимосвязанных движений обрабатываемой детали и инструмента. 
При обработке металлов резанием изделие получается в результате срезания с заготовки слоя припуска,

Слайд 3Совокупность нескольких движений инструмента и обрабатываемой детали и обеспечивает получение

поверхности требуемой формы. При этом движение с наибольшей скоростью называется

главным движением (Dг), а все остальные движения называются движениями подачи (Ds).
Суммарное движение режущего инструмента относительно заготовки, включающее главное движение и движение подачи, называется результирующим движением резания (De). Геометрическая сумма скорости главного движения резания и скорости движения подачи определяет величину скорости результирующего движения резания (Ve). Плоскость, в которой расположены векторы скоростей главного движения резания и движения подачи , называется рабочей плоскостью (Ps). В этой плоскости измеряются угол скорости резания  и угол подачи  . Для случаев токарной обработки этот угол равен 90 градусам.
Совокупность нескольких движений инструмента и обрабатываемой детали и обеспечивает получение поверхности требуемой формы. При этом движение с

Слайд 4 Кинематическая схема процесса продольного
точения токарным проходным резцом

Кинематическая схема процесса продольноготочения токарным проходным резцом

Слайд 5Схема несвободного (а) и свободного (б) резания

Схема несвободного (а) и свободного (б) резания

Слайд 6Интенсивность процесса резания определяется напряженностью режима резания.
Режим резания характеризуют

три параметра:
1. глубина резания t (мм);
2. подача s (мм/об); 
3.скорость резания

v (мм/мин); 

Элементы режима резания. Геометрия срезаемого слоя

Интенсивность процесса резания определяется напряженностью режима резания. Режим резания характеризуют три параметра: 1. глубина резания t (мм);2.

Слайд 7Элементы режима резания: глубина подача и скорость, обозначаются строчными (малыми)

буквами латинского алфавита.

t Глубиной резания называется толщина слоя обрабатываемого материала,

срезаемого за один проход инструмента.

Sо Подачей называется величина перемещения инструмента или обрабатываемого изделия в единицу времени или величина, этого перемещения, отнесенная к величине главного движения. Sмин =VS= S0n.

V=πDn/1000 Скоростью резания называется скорость перемещения поверхности резания относительно режущей кромки инструмента. Скорость резания можно представить как путь, пройденный режущим инструментом в единицу времени в направлении главного движения по поверхности резания.
Элементы режима резания: глубина подача и скорость, обозначаются строчными (малыми) буквами латинского алфавита.t Глубиной резания называется толщина

Слайд 8Конструктивные элементы режущей части резца

Конструктивные элементы режущей части резца

Слайд 9Положение плоскости резания
и основной плоскости

Положение плоскости резанияи основной плоскости

Слайд 10Геометрические параметры режущей
части токарного проходного резца

Геометрические параметры режущейчасти токарного проходного резца

Слайд 12Изменение углов резца при установке его на станок

Изменение углов резца при установке его на станок

Слайд 13Кинематическое изменение углов резца при точении с
продольной подачей

Кинематическое изменение углов резца при точении с продольной подачей

Слайд 14при точении с
поперечной подачей
(отрезка заготовки)

при точении с поперечной подачей (отрезка заготовки)

Слайд 15Передний угол резца: положительный (а),
равный нулю (б),
отрицательный (в)



Передний угол резца: положительный (а), равный нулю (б), отрицательный (в)

Слайд 16Определение знака угла наклона главной режущей кромки

Определение знака угла наклона главной режущей кромки

Слайд 17Направление движения срезаемой стружки
при положительном (а) и отрицательном (б)
угле наклона

главной режущей кромки

Направление движения срезаемой стружкипри положительном (а) и отрицательном (б)угле наклона главной режущей кромки

Слайд 211 – обрабатываемая поверхность,
2 — обработанная поверхность,
3 – поверхность резания.
Ps –

рабочая плоскость, V – вектор скорости резания, Vs – вектор скорости

движения подачи, Ve – вектор скорости результирующего движения.
Dг – главное движение, Ds – движение подачи, De – результирующее движение.
 
Рис.1 Поверхности и движения при резании.
1 – обрабатываемая поверхность,2 — обработанная поверхность,3 – поверхность резания.Ps – рабочая плоскость, V – вектор скорости резания,

Слайд 22Форма передней поверхности резцов

Форма передней поверхности резцов

Слайд 23Инструментальные материалы

Инструментальные материалы

Слайд 24Влияние различных факторов на силы резания
С увеличением твердости или

прочности HB (σB)
обрабатываемого материала возрастает
его сопротивляемость процессу снятия

стружки,
что ведет к росту силы резания Pz

Увеличение подачи или глубины резания S (t)
приводит к росту площади срезаемого слоя и
следовательно объема срезаемого материала,
что повышает силу Pz

Влияние всех остальных факторов
на силу резания объясняется их
влиянием на коэффициент укорочения
стружки. При этом факторы, повышающие
степень пластической деформации
(увеличивающие коэффициент укорочения стружки),
действуют в сторону увеличения сил резания и наоборот.

Влияние различных факторов на силы резания С увеличением твердости или прочности HB (σB) обрабатываемого материала возрастает его

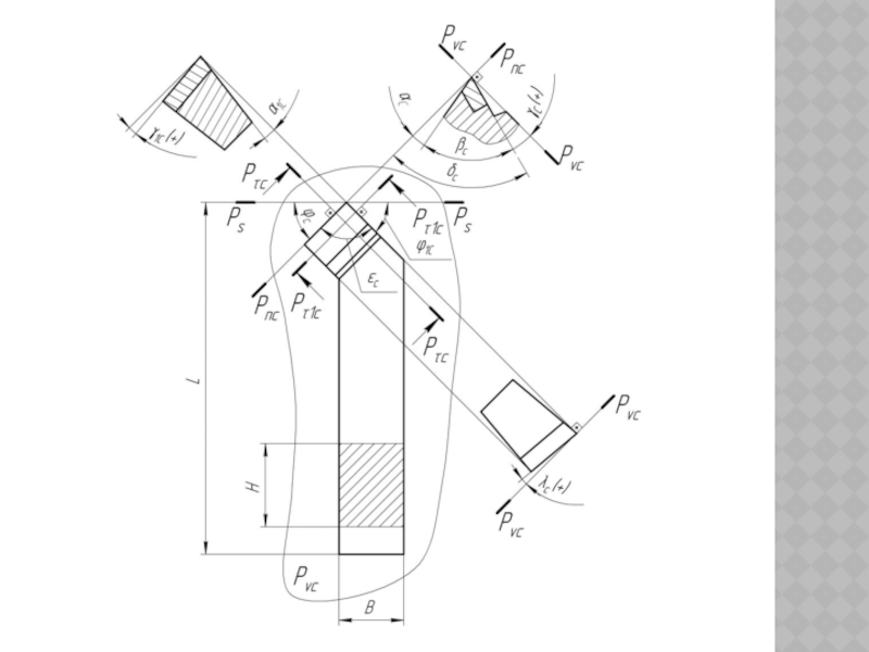
Слайд 25Составляющие силы резания при точении

Составляющие силы резания при точении

Слайд 26Величина подачи и глубины резания определяют размер площади поперечного сечения

срезаемого слоя (сечения среза): 

, мм2.

Процесс пластической деформации срезаемого слоя и напряженность процесса резания наиболее полно оценивается не величиной площади поперечного сечения среза, а величинами ширины и толщины поперечного сечения срезаемого слоя. Толщиной срезаемого слоя (среза) a называется расстояние между двумя последовательными положениями поверхности резания. Шириной срезаемого слоя b называется расстояние между обрабатываемой и обработанной поверхностями, измеренное по поверхности резания.
Форма поперечного сечения среза зависит от формы режущей кромки инструмента и от расположения ее относительно направления движения подачи. При резании инструментом с прямолинейной режущей кромкой толщина среза а постоянна на всей ширине среза, а при резании инструментом с криволинейной режущей кромкой толщина среза неодинакова в разных точках по ширине среза. Из рис.2 видно, что при постоянных значениях подачи s и глубины резания t ширина среза b и толщина среза a изменяются в зависимости от положения режущей кромки, в зависимости от угла  между режущей кромкой и направлением подачи. 
Величина подачи и глубины резания определяют размер площади поперечного сечения срезаемого слоя (сечения среза): 

Слайд 27Рис. 2 Форма и размеры площади поперечного сечения среза

Рис. 2 Форма и размеры площади поперечного сечения среза

Слайд 28В результате того, что режущий инструмент имеет вспомогательный угол  не

равный нулю, фактическая площадь среза fфакт. меньше номинальной на величину площади среза

остающихся на обработанной поверхности гребешков. Величина их  несоизмеримо мала по сравнению с номинальной, и для выполнения каких-либо расчетов ею можно пренебречь.
Производительность обработки резанием может характеризоваться объемом металла, срезаемого в единицу времени.
Этот объем, мм3/мин, может быть определен как произведение площади поперечного сечения среза и длины пути, пройденного режущим инструментом в единицу времени – скорости резания:

, мм3/мин,


где:   
 t – глубина резания, мм;
s – подача, мм/об;  v – скорость резания, м/мин;

Кроме того, производительность механической обработки может оцениваться также величиной площади поверхности, обработанной в единицу времени, или по другим показателям.



В результате того, что режущий инструмент имеет вспомогательный угол  не равный нулю, фактическая площадь среза fфакт. меньше номинальной на

Обратная связь

Если не удалось найти и скачать доклад-презентацию, Вы можете заказать его на нашем сайте. Мы постараемся найти нужный Вам материал и отправим по электронной почте. Не стесняйтесь обращаться к нам, если у вас возникли вопросы или пожелания:

Email: Нажмите что бы посмотреть 

Что такое TheSlide.ru?

Это сайт презентации, докладов, проектов в PowerPoint. Здесь удобно  хранить и делиться своими презентациями с другими пользователями.


Для правообладателей

Яндекс.Метрика