Разделы презентаций


Выпрямители 1 Выпрямители преобразуют переменное напряжение питающей сети в

Содержание

Выпрямители Напряжения на входе и выходе однополупериодного выпрямителя Среднее значение выпрямленного напряженияМаксимальное обратное напряжение на диоде

Слайды и текст этой презентации

Слайд 1Выпрямители
Выпрямители преобразуют переменное напряжение питающей сети в пульсирующее однополярное.


Основными компонентами выпрямителей служат вентили – элементы с явно выраженной

нелинейной ВАХ. В качестве таких элементов используют кремниевые диоды.

Однополупериодный выпрямитель

Выпрямители	Выпрямители преобразуют переменное напряжение питающей сети в пульсирующее однополярное. 	Основными компонентами выпрямителей служат вентили – элементы с

Слайд 2Выпрямители
Напряжения на входе и выходе однополупериодного выпрямителя

Среднее значение выпрямленного

напряжения
Максимальное обратное напряжение на диоде

Выпрямители	Напряжения на входе и выходе однополупериодного выпрямителя Среднее значение выпрямленного напряженияМаксимальное обратное напряжение на диоде

Слайд 3Выпрямители
Двухполупериодный выпрямитель с выводом от средней точки вторичной обмотки трансформатора


Диоды проводят ток поочередно, каждый в течение полупериода.
В положительный

полупериод открыт диод VD1, а в отрицательный – диод VD2.
Выпрямители	Двухполупериодный выпрямитель с выводом от средней точки вторичной обмотки трансформатора 	Диоды проводят ток поочередно, каждый в течение

Слайд 4Выпрямители
Напряжение на нагрузке

Средние значения тока и напряжения нагрузки
;

Выпрямители	Напряжение на нагрузке 	Средние значения тока и напряжения нагрузки;

Слайд 5Выпрямители
Мостовая схема двухполупериодного выпрямителя

Выпрямители	Мостовая схема двухполупериодного выпрямителя

Слайд 6Выпрямители
Для уменьшения пульсаций выпрямленного напряжения используют специальные устройства – сглаживающие

фильтры

Емкостный фильтр (С-фильтр) в схеме однополупериодного выпрямителя
Сглаживание пульсаций выпрямленного

напряжения происходит за счет периодической зарядки конденсатора С (когда напряжение на вторичной обмотке трансформатора превышает напряжение на нагрузке) и последующей его разрядки на сопротивление нагрузки
Выпрямители	Для уменьшения пульсаций выпрямленного напряжения используют специальные устройства – сглаживающие фильтры 	Емкостный фильтр (С-фильтр) в схеме однополупериодного

Слайд 7Выпрямители
Временные диаграммы напряжений и токов выпрямителя

ВыпрямителиВременные диаграммы напряжений и токов выпрямителя

Слайд 8Выпрямители
На интервале времени t1 – t2 диод открыт и конденсатор

заряжается.

На интервале t2 – t3 диод закрыт и

конденсатор разряжается через сопротивление Rн

Амплитуда пульсаций выпрямленного напряжения

- частота входного напряжения

Амплитуда пульсаций напряжения на выходе двухполупериодного выпрямителя

Выпрямители	На интервале времени t1 – t2 диод открыт и конденсатор заряжается. 	На интервале t2 – t3 диод

Слайд 9Биполярные транзисторы
Предназначены для усиления сигналов и управления

током в схемах полупроводниковой электроники.

Представляют из себя

трехслойную структуру с чередующимися слоями проводимости, имеют три вывода для подключения к внешней цепи.
В этой трёхслойной структуре имеются два p-n перехода.
Термин «биполярные» подчеркивает то, что у таких транзисторов используется оба типа носителей зарядов (электроны и дырки).

Существует два типа транзисторов:
1. С прямой проводимостью (p-n-p)
2. С обратной проводимостью (n-p-n)

Биполярные транзисторы   Предназначены для усиления сигналов и управления током в схемах полупроводниковой электроники.

Слайд 10












Э-Б – эмиттерный переход.
Б-К – коллекторный переход.


Особенности

конструкции:
1. Толщина базы должна быть малой по сравнению с длиной
свободного пробега носителей зарядов (примерно 20-30 мкм).
2. Концентрация примесей и основных носителей в
эмиттере должна быть много больше, чем в базе.



Крайние слои называются эмиттером и коллектором. Между ними – база.

Э-Б – эмиттерный переход.  Б-К – коллекторный

Слайд 11Биполярные транзисторы
Биполярный транзистор – трёхполюсный
полупроводниковый прибор с двумя p–n-переходами
 

n–p–n-

транзистор

Биполярные транзисторы	Биполярный транзистор – трёхполюсный полупроводниковый прибор с двумя p–n-переходами n–p–n- транзистор

Слайд 12Биполярные транзисторы
p–n–p- транзистор

Биполярные транзисторыp–n–p- транзистор

Слайд 13


Эмиттерный переход смещен в прямом направлении,

коллекторный в обратном.
Схемы с общим эмиттером (ОЭ):





Схема с общим эмиттером называется так потому, что входная и выходная цепь имеют общую точку на эмиттере.

Так для p-n-p транзистора должны соблюдаться условия :
N a » N д , p p » n n .
Здесь N a – концентрация акцепторной примеси,
N д – концентрация донорной примеси,
p p – концентрация дырок, n n - концентрация электронов.

Эмиттерный переход смещен в прямом направлении, коллекторный в обратном.  Схемы с общим

Слайд 14Принцип действия транзистора
Рассмотрим на примере p-n-p транзистора.
При U БЭ

=0 и U КЭ =0
происходит диффузия дырок из эмиттера

в базу, т.к. концентрация дырок в эмиттере много больше, чем электронов в базе. Перейдя под действием сил диффузии металлургическую границу, дырки рекомбинируют с основными носителями базы. Рекомбинация – это встреча электронов с дырками.
Принцип действия транзистора Рассмотрим на примере p-n-p транзистора.При U БЭ =0 и U КЭ =0 происходит диффузия

Слайд 15Рекомбинация – это встреча электронов с дырками. При этом происходит

возврат электронов из зоны проводимости в валентную зону. Также исчезают

свободные заряды.
За счет ухода основных носителей из одного слоя и их рекомбинации в другом, вблизи металлургической границы возникает область, обеднённая подвижными носителями заряда и имеющая высокое сопротивление (запирающий слой).
В запирающем слое нарушается баланс положительных и отрицательных зарядов, т.к. при уменьшении концентрации подвижных носителей оказывается нескомпенсированным объёмный заряд неподвижных ионов примесей : в p-слое – отрицательных, а в n- слое – положительных ионов.
Этот двойной электрический слой создает электрическое поле с напряженностью Е о , и возникает потенциальный барьер φ о .
Электрическое поле, возникшее внутри запирающего слоя, вызывает направленное движение носителей через переход – дрейфовый ток, направленный навстречу току диффузии через переход.
Диффузия носителей приводит к росту электрического поля и потенциального барьера, при этом растет дрейфовый ток.
Рекомбинация – это встреча электронов с дырками. При этом происходит возврат электронов из зоны проводимости в валентную

Слайд 16 Рост двойного электрического слоя прекращается

тогда, когда суммарный ток через переход равен нулю, т.е.


I диф = - I дрейфа .

Такой режим соответствует равновесному состоянию р – n перехода.
Рост двойного электрического слоя прекращается тогда, когда суммарный ток через переход равен

Слайд 17 Включим источники ЭДС и

.

Потенциальный барьер на эмиттерном переходе

уменьшится, так как полярность приложенного к нему напряжения – прямая ток диффузии через эмиттерный переход увеличится.
На коллекторном переходе полярность обратная потенциальный барьер коллекторного перехода увеличится.
Т.к. база тонкая, почти все дырки подойдут к коллекторному переходу, не попадая в центры рекомбинаций.
Центры рекомбинаций – это дефекты кристаллической решетки (нарушения кристаллической структуры, случайные примеси, трещины, дефекты в поверхностных слоях).
Включим источники ЭДС    и   .  Потенциальный барьер на

Слайд 18 Центры рекомбинаций – это дефекты кристаллической

решетки (нарушения кристаллической структуры, случайные примеси, трещины, дефекты в поверхностных

слоях).
Дырки, подошедшие к коллекторному переходу будут втягиваться в коллектор (так как напряженность электрического поля коллекторного перехода будет «втягивающей» для неосновных носителей – дырок в базе n – типа).
Ток дырок, попавших из эмиттера в коллектор будет замыкаться через внешнюю цепь.
При этом приращение тока эмиттера ΔI э вызовет приращение тока коллектора Δ I К .

здесь

α – коэффициент передачи тока эмиттера. α = 0,9-0,99.
α < 1, т.к. небольшая часть дырок из эмиттера всё же рекомбинирует с электронами в базе.

Центры рекомбинаций – это дефекты кристаллической решетки (нарушения кристаллической структуры, случайные примеси, трещины,

Слайд 19 База была электрически нейтральна, т.к. избыточный заряд

подвижных носителей – электронов компенсировался зарядом положительных неподвижных ионов примесей.

Т.к. небольшая часть дырок из эмиттера всё же рекомбинирует с электронами в базе, нейтральность базы нарушится и для её восстановления из внешней цепи за счет U БЭ будут поступать электроны.
База была электрически нейтральна, т.к. избыточный заряд подвижных носителей – электронов компенсировался зарядом положительных

Слайд 20 Основные соотношения между токами в транзисторе.
P
Дырки (не основные) из

Б
К.
e
Электроны (не основные) из К
Б
обратный

(тепловой)
ток

Через коллекторный переход кроме движения основных носителей есть ещё движение неосновных носителей. Этот ток мал.

Полный ток через коллекторный переход, обуслов-ленный и основными и неосновными носителями :

Основные соотношения между токами в транзисторе.PДырки (не основные) из Б К.eЭлектроны (не основные) из К Б

Слайд 21Характеристики биполярных транзисторов
Входная характеристика
Выходные характеристики

Характеристики биполярных транзисторовВходная характеристикаВыходные характеристики

Слайд 22Работа транзистора в режиме переключения
Основой схем импульсной и цифровой техники

является транзисторный ключ, т.е. каскад на транзисторе, работающем в двух

режимах: насыщенный (ключ открыт) и отсечки (ключ закрыт). Транзисторный ключ может быть построен по схемам с ОБ, ОЭ и ОК, однако, наибольшее распространение нашел ключ по схеме с ОЭ.  
Имея малое сопротивление во включенном состоянии и большое - в выключенном, биполярный транзистор достаточно полно удовлетворяет требованиям, предъявляемым к ключевым элементам.
Работа транзистора в режиме переключенияОсновой схем импульсной и цифровой техники является транзисторный ключ, т.е. каскад на транзисторе,

Слайд 23Рис. 3. Схема транзисторного ключа.

Рис. 3. Схема транзисторного ключа.

Слайд 24Резистор Rб ограничивает ток базы транзистора, чтобы он не превышал

максимально допустимого значения. В промежуток времени от 0 до t1

входное напряжение и ток базы близки к нулю, и транзистор находится в режиме отсечки. Напряжение Uкэ, является выходным и будет близко к Eк. В промежуток времени от t1 до t2 входное напряжение и ток базы транзистора становятся максимальными, и транзистор перейдёт в режим насыщения. После момента времени t2 транзистор переходит в режим отсечки. Вывод: транзисторный ключ является инвертором, т. е. изменяет фазу сигнала на 180 градусов.
Резистор Rб ограничивает ток базы транзистора, чтобы он не превышал максимально допустимого значения. В промежуток времени от

Слайд 25Нагрузочная характеристика транзисторного ключа.

Нагрузочная характеристика транзисторного ключа.

Слайд 26Когда нет импульса на входе, транзистор находится в режиме отсечки

и ток коллектора практически отсутствует IК»IКБ0 (точка отс. на выходных характеристиках (рис.78). Напряжение на

выходе транзистора uКЭ= ЕКЭ-IК *RК ≈ ЕКЭ.
При подаче на вход транзистора импульсов прямого тока iБ=(UВХ)/RБ=IБ НАС, транзистор открывается, рабочая точка перемещается в точку нас. (режим насыщения рис.78) и напряжение на коллекторе падает до значения uКЭ= ЕКЭ-IК НАС× RК=UКЭ ОСТ. При дальнейшем увеличении тока базы ток коллектора не увеличивается (рис.78) и напряжение на коллекторе не изменяется.

Когда нет импульса на входе, транзистор находится в режиме отсечки и ток коллектора практически отсутствует IК»IКБ0 (точка отс. на выходных характеристиках

Слайд 27Ключевым режимом работы транзистора называется такой режим, при котором рабочая

точка транзистора скачкообразно переходит из режима отсечки в режим насыщения

и наоборот, минуя линейный режим.
При практическом использовании транзистора большое значение имеет скорость переключения, обуславливающая быстродействие аппаратуры. Скорость переключения определяется процессами накопления и рассасывания неравновесного заряда в базе и коллекторе транзистора, эмиттерном и коллекторном переходах.
В эмиттерном и коллекторном переходах находятся нескомпенсированные заряды  неподвижных ионизированных атомов примеси- доноров и акцепторов; неравновесный заряд отсечки в базе можно считать равным нулю.
Ключевым режимом работы транзистора называется такой режим, при котором рабочая точка транзистора скачкообразно переходит из режима отсечки

Слайд 28При переходе к режиму насыщения эмиттерный переход открывается, толщина перехода и его нескомпенсированный заряд

уменьшаются, происходит как бы разряд ёмкости эмиттерного перехода. Вследствии понижения напряжения на коллекторе, уменьшается

его толщина и заряд в нем, т.е. происходит разряд ёмкости коллекторного перехода, открывается коллекторный переход и в области базы за счет инжекции электронов из эмиттерного и коллекторного переходах накапливается большой неравновесный заряд насыщения. В транзисторах, имеющих высокоомный коллектор носители заряда инжектируют и  в область коллектора, где так же накапливается неравновесный заряд.
Графики напряжений и токов транзистора при переключении даны на рисунке 4. На базу транзистора подается прямоугольный импульс напряжения UВХ
При переходе к режиму насыщения эмиттерный переход открывается, толщина перехода и его нескомпенсированный заряд уменьшаются, происходит как бы разряд ёмкости эмиттерного перехода. Вследствии понижения напряжения

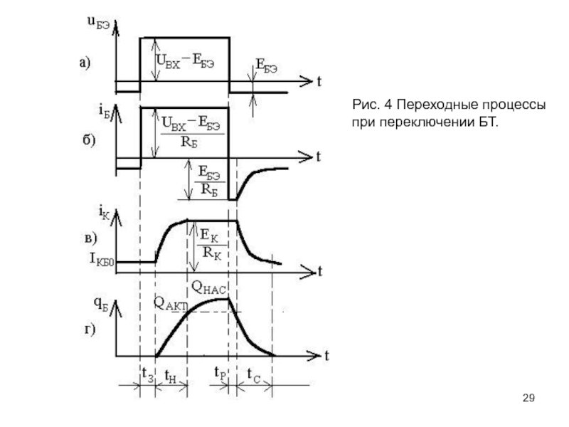
Слайд 29Рис. 4 Переходные процессы при переключении БТ.

Рис. 4 Переходные процессы при переключении БТ.

Слайд 30 При прямоугольной форме импульса входного тока импульс выходного тока iК (рис. 4)

появляется с задержкой tЗ, которая определяется главным образом скоростью нарастания напряжения эмиттерного перехода,

зависящей от величин ёмкости перехода и прямого тока базы, т.е. скоростью разряда эмиттерного перехода.
После того как транзистор перейдет из режима отсечки в активный режим, коллекторный ток начинает постепенно нарастать, достигая установившегося значения а время tн. Это время определяется скоростью накопления неравновесного заряда в базе и скоростью разряда емкости коллектора. Таким образом, полное время включения транзистора состоит из времени задержки и времени нарастания: 
 При прямоугольной форме импульса входного тока импульс выходного тока iК (рис. 4) появляется с задержкой tЗ, которая определяется главным образом

Слайд 31После подачи в цепь базы запирающего тока IБ ОБР=EБЭ/RБ  выходной коллекторный ток прекращается

не сразу. На протяжении некоторого времени рассасывания  tp  он практически сохраняет свою

величину, так как концентрация носителей заряда в базе у коллекторного перехода еще остается выше равновесной и коллекторный переход благодаря этому оказывается открытым.
Лишь после того как неравновесный заряд у коллекторного перехода рассосется за счет ухода электронов из базы и рекомбинации, ток коллектора начинает постепенно спадать, достигая время спада tС установившегося  значения IKЭ0. В течении этого времени продолжается рассасывание неравновесного заряда базы и происходит перезаряд емкости коллекторного перехода. Заметим, что эмиттерный переход при этом может закрыться  раньше или позже  коллекторного в зависимости от скорости рассасывания неравновесного заряда, сосредоточенного поблизости от него.
После подачи в цепь базы запирающего тока IБ ОБР=EБЭ/RБ  выходной коллекторный ток прекращается не сразу. На протяжении некоторого времени рассасывания  tp  он

Обратная связь

Если не удалось найти и скачать доклад-презентацию, Вы можете заказать его на нашем сайте. Мы постараемся найти нужный Вам материал и отправим по электронной почте. Не стесняйтесь обращаться к нам, если у вас возникли вопросы или пожелания:

Email: Нажмите что бы посмотреть 

Что такое TheSlide.ru?

Это сайт презентации, докладов, проектов в PowerPoint. Здесь удобно  хранить и делиться своими презентациями с другими пользователями.


Для правообладателей

Яндекс.Метрика