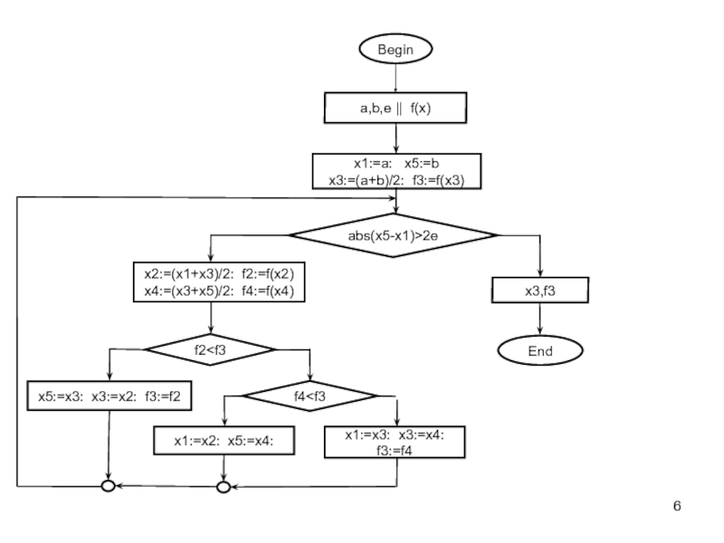
x, надо определить такое значение x*, при котором функция f(x)
принимает экстремальное значение. Под ним обычно понимают минимальное или максимальное значения. В общем случае функция может иметь одну или несколько экстремальных точек. Нахождение этих точек с заданной точностью можно разбить на два этапа. Сначала экстремальные точки отделяют, т.е. определяются отрезки, которые содержат по одной экстремальной точке, а затем уточняют до требуемой точности ε. Отделение можно осуществить, как графически, так и табулированием. Все методы уточнения точек экстремумов будем рассматривать относительно уточнения минимума на заданном отрезке.пример: f(x) = 3*sin(2*x)-1.5*x-1
f=inline(‘3*sin(2*x)-1.5*x-1');
x=-2:0.05:2;
plot(x,f(x))
grid on



![Методы одномерной оптимизации f=inline(‘3*sin(2*x)-1.5*x-1');[x,y]=fminbnd(f,1.2,-0.4) f=inline(‘3*sin(2*x)-1.5*x-1');[x,y]=fminbnd(f,1.2,-0.4)](/img/tmb/2/147106/961bf54a17c9718c7414447fdb75bc58-800x.jpg)